 |
Contact us |
Changshu Hongchang Heat Exchanger Manufacturing Co. Ltd., Address: 79-1 Zhong Xin Road, Yu Shan Town, Changshu, Jiangsu TEL: 0512-52332250 (rp) TEL:18962334627(sales) FAX: 0512-52611408 E-MAIL:hongchang@shchrq.com Web: www.shchrq.com |
|
|
| Changshu Hongchang Heat Exchanger Manufacturing Co. Ltd |
| Sales hotline:18962334627 |
|
 |
Technical parameters |
Location: Home > Technical parameters |
Heat exchanging tube | | Mould 9.52 | Mould 16 | Diameter(mm) | φ9.52 | φ16 | Tube thickness(mm) | Smooth tube:0.35/0.5 | Smooth tube:0.5/0.75/1 | Female threaded tube:0.30+0.2-210 | Material | TP2/M2(smooth/female threaded tube) | T2/M2 | Heat exchanging fin | Hole distance(mm) | 25.4(Equilateral) | 38(Equilateral) | Fin thickness(mm) | 0.12 / 0.14 / 0.15 | 0.15-2 | Fin type
| Ripple fin | Ripple fin | Max. fin distance(mm) | 5.0 | 6.0 | Material | Aluminum foil, copper foil | Aluminum foil, copper foil | End plate | Max. thickness(mm) | 2.5 | 2.5 | Hole diameter(mm) | φ10-φ10.3 | φ16-φ16.5 | Material | Stainless steel, aluminum, galvanization | Stainless steel, aluminum, galvanization | Others | Max. length of U tube(mm) | 2500 | Straight tube | Ext. dimension of heat exchanger L(mm)×W(mm)×H(mm) | L=5000 W, H = unlimited | L, W, H = unlimited |
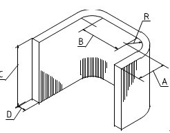
| Dimension of Heat Exchanger Type U | | Dimension of Heat Exchanger Type L |  | |  |
| | A= | 60(1st layer)/80(2ndlayer)/ 100(3rdlayer) | | A= | 60(1st layer)/80(2nd layer)/ 100(3rdlayer) | | | B= | not less than 410 | C= | less than 1500 | | | | C= | less than 1500 | D= | 22(1st layer)/44(2nd layer)/ 66(3rdlayer) | | | D= | 22(1st layer)/44(2nd layer)/ 66(3rd layer) | R= | 75 | | | | R= | 75 | | | |
|
|
|